Форсунка гидромассажная 20-40 м3/ч Xenozone, AISI-304 (ФГ.20)

Форсунка гидромассажная 20-40 м3/ч Xenozone, AISI-304 (ФГ.20)
43 177 р

Артикул: ФГ.20

Код продукта: 00-00005981

Производитель: XENOZONE (Россия)

Доставка в течении 1-3 дней
Доставка по Москве от 600р
Доставка в регионы



Описание товара


Мощные гидромассажные форсунки модели ФГ.20 позволяют организовывать поток 20 до 40 м3/ч в зависимости от выбранного насоса. Они могут устанавливаться попарно и использоваться в качестве противотока, или одиночными изделиями в борт бассейна, если требуется организовать более мощный поток воды.

Технические характеристики

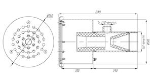
  • Рекомендуемый расход воды: 20-40 м3
  • Диаметр лицевой панели: 160 мм
  • Отделка бассейна: плитка (мозаика)/пленка (лайнер)
  • Подсоединение водной магистрали: 2 дюйма (внутренняя резьба)
  • Подключение воздуха: 1/2 дюйма (внутренняя резьба)
  • Материал изготовления: нержавеющая сталь AISI-304
  • Отделка лицевой панели: зеркальная полировка

Особенности конструкции

Корпус форсунки изготовлен из нержавеющей стали AISI-304, обеспечивающей долговечность эксплуатации и стойкость к коррозии. Универсальность конструкции позволяет устанавливать их в бассейны с любым видом отделки бассейна: плиткой, пленкой или мозаикой.

Благодаря специально спроектированной системе эжекции, гидромассажные форсунки ФГ.20 обеспечивают максимально мощный массажный эффект. Ключевой компонент – эжектор, изготовлен с применением технологии 3D-печати из ударопрочного ABS-пластика. Он отвечает за создание струи гидромассажа, засасывая воздух в поток воды.

Комплектация и особенности установки

Форсунка гидромассажа производительностью 20-40 м3/ч (арт. ФГ.20) имеет закладную с резьбовым подсоединением 2 дюйма, поставляется в комплекте с эжектором и лицевой панелью.

Мы рекомендуем придерживаться рекомендованного расхода воды, так как недостаточная производительность насоса может привести к ухудшению работы системы эжекции и снижению подмеса воздуха.

Мы НЕ рекомендуем использование оборудования из нержавеющей стали AISI-304 в бассейнах с морской водой естественного или искусственного происхождения, а также там, где для дезинфекции используется метод электролиза/гидролиза.

Гидромассажные форсунки ФГ.20, как и остальные наши модели, не предназначены для установки в акриловых ваннах, душах и подобных конструкциях.

Модель Xenozone ФГ.20
Материал корпуса Нержавеющая сталь AISI 304
Рекомендуемый расход воды (м3/час) 20-40
Совместимость с отделкой бассейнов Плитка (мозаика) / Пленка (лайнер)
Диаметр (мм) 160
Подсоединение водной магистрали ВР 2"
Подключение воздуха ВР 1/2"
Особенности Зеркальная полировка лицевой панели

Пока нет отзывов о товаре.


Новый отзыв

Рейтинг: *
Имя: *
E-mail:
Достоинства:
Недостатки:
Комментарий: